- Get link
- X
- Other Apps
- Get link
- X
- Other Apps
The Basics Of Electric Vehicle Charging Infrastructure

4 Ways To Charge A Home Air Conditioner Wikihow

Android Auto Doesn T Display On Car Screen Since October


Is Wireless Charging Bad For Your Smartphone Computerworld

Federal Register Inadmissibility On Public Charge Grounds

Subcooling And Superheat Superheroes Of System Charging

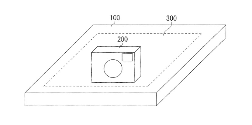
Canon Patent Application Details Wireless Charging Setup For

Five Rules For Charging Refrigeration Systems 2019 06 10

Amazon Com Nintendo Switch Adjustable Charging Stand
- Get link
- X
- Other Apps
Comments
Post a Comment